日期:2019-05-20 20:35:43
点击:



|
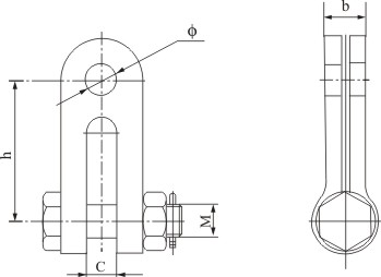
天恒型号
|
|
标称破坏
荷重(kN) |
重量(kg)
|
||||
|
Φ
|
b
|
C
|
h
|
M
|
|||
|
ZS-7
|
20
|
16
|
18
|
80
|
16
|
70
|
0.58
|
|
ZS-10
|
20
|
18
|
20
|
80
|
18
|
100
|
0.90
|
|
ZS-12
|
24
|
22
|
22
|
80
|
22
|
120
|
1.00
|
|
ZS-16
|
26
|
24
|
26
|
90
|
24
|
160
|
1.60
|
|
ZS-25
|
33
|
30
|
33
|
120
|
30
|
250
|
4.33
|
|
ZS-30
|
39
|
34
|
38
|
150
|
36
|
300
|
5.64
|
|
ZS-665
|
20
|
16
|
20
|
65
|
16
|
60
|
0.65
|

|
天恒型号
|
主要尺寸(mm)
|
标称破坏
荷重(kN) |
重量(kg)
|
||||
|
Φ
|
b
|
C
|
h
|
M
|
|||
|
ZS-0780
|
20
|
16
|
18
|
80
|
16
|
70
|
0.6
|
|
ZS-1080
|
20
|
18
|
20
|
80
|
18
|
100
|
0.9
|
|
ZS-1280
|
24
|
22
|
22
|
80
|
22
|
120
|
1.0
|
|
ZS-1690
|
26
|
18
|
22
|
90
|
24
|
160
|
1.9
|
|
ZS-16100
|
26
|
18
|
24
|
100
|
24
|
160
|
2.1
|
TAG标签: